【導讀】本文提及的腫瘤電場治療硬件設計方案在芯片選型上均選用ADI的元器件,具有低功耗、高精度、小體積的特點。其突出特性之一是在高壓電源升壓與高壓信號放大的處理上,選用ADI的LT8304可直接從主端反激波形對隔離式輸出電壓進行采樣,從而無需借助第三個繞組或光隔離器即可實現穩壓。
背景概述
惡性腫瘤一直是困擾人類健康的公共衛生問題,腫瘤電場治療是當前醫療市場上熱門的一種創新技術。這種技術是通過穿戴設備,對目標位置腫瘤發出低強度交變電場來干擾癌細胞,讓它們發生紊亂,無法正常分裂增殖,從而實現抗癌效果。該療法有著非常好的耐受性,絕大部分副作用為輕度皮膚刺激。根據在2023年ASCO年會上發布的數據,來自LUNAR試驗(NCT02973789)的結果顯示,在轉移性非小細胞肺癌(NSCLC)患者中,相比單獨使用標準治療,將腫瘤電場治療與肺癌標準治療中的免疫療法或化療相結合,可以提高患者總生存率,降低死亡風險。
方案介紹
本次技術型授權代理商Excelpoint世健邀請了來自專業醫療領域企業的工程師黃工跟大家分享實戰案例。該公司是世健公司多年的客戶,主要從事醫療器械的研發、生產和銷售,而黃工有著資深的行業經驗。本文中提到的腫瘤電場治療儀主要由生理信號檢測系統、電場刺激發放系統、數據處理分析系統組成。該治療儀具有高精度、高準確度等優點,黃工及團隊在設計中運用到了多個ADI產品。該儀器電場刺激發放系統硬件設計方案如圖一所示。
圖一 電場刺激發放系統硬件設計方案
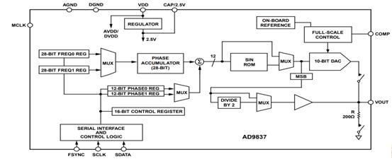
電場刺激發放中,DDS的選取為ADI的AD9837,這是一款低功耗、可編程波形發生器,可產生正弦波、三角波和方波輸出;輸出頻率和相位可通過軟件進行編程,調整簡單。黃工表示,選擇該芯片最重要的一個原因是該產品的分辨率高,當時鐘速率為5MHz時,可實現0.02Hz的分辨率。
圖二 AD9837內部架構
橢圓濾波器的選擇為ADI LTC1560-1,該濾波器是一款5階、連續時間、低通濾波器;截止頻率可通過引腳選擇為500KHz或1Mhz。與其他高頻濾波器不同,LTC1560-1是專門實現低噪聲和低失真而設計的。對于一個1Vrms輸入信號,信噪比為69db,THD為-63dB。
圖三 LTC1560-1外圍參考電路設計
數字電位器的選擇為AD5282,該器件為雙通道,256位,I2C兼容型數字電位計。與數字電位器配合的運放選擇為ADA4805-2,該運放為高速電壓反饋,軌至軌輸出放大器,具有500uA級低功耗。此外,更重要的是該運放具有105MHz高帶寬(增益為1),160V/us高壓擺率及125uV的低輸入失調電壓。該運放與數字電位器AD5282進行搭配可實現輸出電壓的增益可調,且能完美實現輸入信號的保真。
高壓運放的選擇為ADHV4702-1,與高壓運放搭配的供電電源為LT8304-1。高壓運放選擇ADHV4702-1。理由在于該運放供電電壓高達±110V,其輸出電壓也接近軌到軌。此外,該運放也具有高壓擺率,可達74V/us。該款運放的高壓擺率和高供電電壓保證了電場激勵的幅度。為了實現高精度性能,ADHV4702-1 具有170dB的典型開環增益(AOL)和160dB的典型共模抑制比(CMRR)。ADHV4702-1還具有2μV/°C的最大輸入失調電壓(VOS)漂移和8 nV/√Hz的輸入電壓噪聲。
高壓電源選取LT8304的理由則在于,該電源芯片為單片式、微功率、隔離型反激式轉換器。通過直接從主端反激波形對隔離式輸出電壓進行采樣,該器件無需借助第三個繞組或光隔離器來實現穩壓。輸出電壓利用兩個外部電阻器和第三個任選的溫度補償電阻器來設置。邊界模式操作提供了一種具有卓越負載調節性能的小型磁性解決方案。低紋波突發模式操作可在輕負載條件下保持高效率,同時較大限度地抑制輸出電壓紋波。LT8304-1可在一個3V至100V的輸入電壓范圍內工作,并輸送高達24W的隔離輸出功率。
圖四 LT8304內部架構
LT8304產生正負110V高壓參數選擇及仿真如圖五所示:
圖五 LT8304 正負110V高壓輸出仿真
在實際應用該芯片時需注意,在原邊添加緩沖電路,對于變壓器、初級側和次級側漏電流會導致過大的電壓尖峰,超過IC的絕對最大額定電壓,導致IC損壞。如果允許振鈴時間過長,可能會錯誤地使電源開關控制電路跳閘。一些電感器具有高漏感的特征,但繞組不良的電感器也會表現出高漏感,雜散電感會加劇由此產生的電壓尖峰,這通常是電路布局不良的結果。為了防止這種情況,需額外添加緩沖電路,即仿真圖中的D2、D3、R3、R4。緩沖電路的作用是吸收由于漏感L引起的多余能量l,從而保護IC免受潛在的高電壓或過度振鈴的影響。二極管緩沖器可確保定義明確且一致的箝位電壓,并具有略高的功率效率,而阻容緩沖器可快速抑制電壓尖峰振鈴。
ADHV4702-1產生正負110V可調脈沖參數選擇及仿真如圖六所示:
圖六 ADHV4702-1正負110V脈沖信號仿真
實際應用ADHV4702-1的過程中,需充分考慮該芯片溫度引腳TMP的運用及該芯片扇熱。
ADHV4702-1的TMP引腳可用于監測芯片溫度的相對變化。典型的TMP引腳電壓在室溫下約為1.9 V,在- 4.5 mV/°C左右變化。為了避免在超過規定的溫度下工作,導致芯片性能下降,可將ADHV4702-1的TMP引腳直接與SD引腳相連在與電阻RTEMP連接到地,在RTEMP上改變電阻來設置熱關機閾值溫度如圖七所示。
在進行PCB繪制時,建議在該芯片下表面添加一個外露的銅頂層,用于熱管理。將該芯片封裝外露的pad(EPAD)焊在銅層上,保證最佳的散熱效果。頂部暴露的銅區域通過多個熱過孔組成的陣列連接到底部暴露的銅接地面。此外,還可通過在ADHV4702-1的底部外露接地平面上安裝散熱器的方式,用來提高ADHV4702-1的散熱。
圖七 ADHV4702-1 TMP引腳電壓溫度曲線及該引腳外接參考電路
總結
本文提及的腫瘤電場治療硬件設計方案在芯片選型上均選用ADI的元器件,具有低功耗、高精度、小體積的特點。其突出特性之一是在高壓電源升壓與高壓信號放大的處理上,選用ADI的LT8304可直接從主端反激波形對隔離式輸出電壓進行采樣,從而無需借助第三個繞組或光隔離器即可實現穩壓。腫瘤治療設備往往對于性能和精密度有極高的要求,高壓運放ADHV4702-1,作為業界一款高電壓、高性能的精密運算放大器,具有高輸入阻抗、低輸入偏置電流、低輸入失調電壓、低漂移和低噪聲的特性,適用于精密、苛刻的應用。此外,該運放利用ADI公司的下一代專有半導體工藝和創新架構,使這款精密運算放大器能夠使用±110V對稱雙電源、不對稱雙電源或220V單電源供電。
(來源:世健)
免責聲明:本文為轉載文章,轉載此文目的在于傳遞更多信息,版權歸原作者所有。本文所用視頻、圖片、文字如涉及作品版權問題,請聯系小編進行處理。
推薦閱讀:
吉利汽車與意法半導體簽署碳化硅長期供應協議,深化新能源汽車轉型,推動雙方創新合作





