中心議題:
- MEMS基本原理
- 基于MEMS的醫療運動檢測系統應用
- 醫療MEMS的復雜性
基于MEMS的系統可以顯著提高髖關節和膝關節植入體與病人骨骼結構的對準精度,減輕不舒適感,從而避免進行修正手術。
導航通常與汽車、卡車、飛機、輪船,當然還有人相關。但是,它也開始在醫療技術領域發揮重要作用,精密手術儀器和機器人就需要使用導航。手術導航工具的設計要求與傳統的車輛導航具有廣泛的共同點,但前者也提出了一些獨特的挑戰(例如,由于是在室內使用,無法獲得GPS支持),需要更高的性能。
本文將研究醫療導航應用的獨特挑戰,并且探討可能的解決方案--從傳感器機制到系統特性。首先將回顧傳感器的一些重要性能指標,以及在傳感器選型中應當考慮的潛在誤差和漂移機制。本文還會重點介紹通過集成、融合和處理來增強傳感器的方法,例如通過采用卡爾曼濾波。然而,在展開詳細論述之前,回顧慣性微機電系統(MEMS)傳感器技術的一些基本原理可能會有幫助。
1 MEMS基本原理
一度被認為是奇思異想的MEMS技術,現已成為我們大多數人每天都會碰到的成熟技術。它使我們的汽車更加安全,增強了手機的可用性,能夠測量和優化工具及運動設備的性能,并且不斷提高對住院病人和門診病人的醫療護理水平。

表1 按運動類型劃分的醫療應用
用于線性運動檢測的MEMS器件通常是基于一個微加工的多晶硅表面結構,該結構形成于硅晶圓之上,通過多晶硅彈簧懸掛在晶圓的表面上,提供對加速度力的阻力。在加速度下,MEMS軸的偏轉由一個差分電容測量,該差分電容由獨立固定板和活動質量連接板組成。這樣,運動使差分電容失衡,導致傳感器輸出的幅度與加速度成正比。舉一個大家熟悉的例子,當汽車由于碰撞而突然急劇減速時,安全氣囊傳感器中的MEMS軸會產生同樣的運動,使得電容失衡,最終產生信號觸發安全氣囊打開。這一基本加速度計結構,根據不同的應用性能參數進行調整并增加數據處理功能后,可以精確地指示傾斜度、速度甚至位置。還有一種與此不同但技術上相關的結構是陀螺儀,它能檢測旋轉速率,輸出形式為度/秒;加速度計則是檢測重力。
2 將運動檢測轉化為對醫療保健有用的信息
通過一個功耗極低的緊湊器件來精確檢測和測量運動的能力,幾乎對任何涉及到運動的應用都是有價值的,甚至對那些運動要求不是很關鍵的應用也是有價值的。表1按運動類型列出了一些基本醫療應用。需要解決更多挑戰的更高級應用將在稍后討論。
2.1 超越簡單的運動檢測
雖然簡單的運動檢測,例如一個軸上的線性運動,可能很有價值,但多數應用都涉及到多個軸上的多種類型運動。捕捉這種多維運動狀態不僅能帶來新的好處,而且能在軸外擾動可能影響單主軸運動測量的情況下保持精度。
許多情況下,為了精確測定對象所經歷的運動,必須將多種類型(例如線性和旋轉)的傳感器結合起來。例如,加速度計對地球的重力敏感,可以用來確定傾角。換言之,讓一個MEMS加速度計在一個+/-1g重力場中旋轉時(+/-90°),它能夠將該運動轉換為角度表示。然而,加速度計無法區分靜態加速度(重力)與動態加速度。這種情況下,加速度計可以與陀螺儀結合,利用組合器件的附加數據處理能力可以分辨線性加速度與傾斜(即當陀螺儀的輸出顯示旋轉與加速度計記錄的視在傾斜重合時)。隨著系統的動態程度(運動的軸數和運動自由度)增加,傳感器融合過程會變得更加復雜。
了解環境對傳感器精度的影響也很重要。顯而易見的一個因素是溫度,可以對其進行校準;事實上,高精度傳感器可以重新校準,并且自身進行動態補償。另一個不那么明顯的考慮因素是潛在的振動,即使很輕微的振動也會使旋轉速率傳感器的精度發生偏移,這種效應稱為線性加速度效應和振動校正,其影響可能很嚴重,具體取決于陀螺儀的質量。在這種情況下,傳感器融合同樣能夠提高性能,即利用加速度計來檢測線性加速度,然后利用此信息和陀螺儀線性加速度靈敏度的校準信息進行校正。
[page]
許多應用要求多自由度的運動檢測。例如,6自由度慣性傳感器能夠同時檢測x、y、z軸上的線性加速度和旋轉運動(也稱為滾動、俯仰和偏航),參見圖1。

圖1 全運動評估所需的6自由度運動測量:x、y、z軸線性運動和滾動、俯仰、偏航角速率轉動
2.2 導航--從車輛到手術儀器
慣性傳感器在工業中用作輔助導航器件已經相當廣泛。通常,慣性傳感器與GPS等其他導航設備一起使用。當GPS訪問不可靠時,慣性導航可以利用所謂航位推算技術來彌補空隙。除了最簡單的導航之外,多數解決方案都會依賴多種類型的傳感器,在所有條件下提供所需的精度和性能。GPS、光學和磁性檢測技術已廣為認知,相關產品也很豐富。然而,每種技術都有其不足之處,即使一起使用,互相之間也不能完全補償彼此的不精確性。MEMS慣性傳感器則有可能完全補償傳感器的不精確性,因為它不存在上述干擾,并且不需要外部基礎結構:無需衛星、磁場或相機,只需慣性。表2列出了主要的導航傳感器技術及其優缺點。

表2 廣泛應用的導航傳感器及其對醫療導航的適用性
就像車輛導航設備會發生GPS遮擋問題一樣,醫療系統所用的光學導航技術也會遇到視線遮擋問題。發生光學遮擋時,慣性傳感器可以執行航位推算,從而通過冗余檢測增強系統的可靠性。
2.3 醫療導航
符合表2所列原則的一個醫療應用是在手術室使用慣性傳感器,使人工膝關節或髖關節能夠與病人獨特的骨骼結構更精確地對準。本例的目標是讓植入體與患者自然軸的對準誤差小于1°。95%以上的全膝關節置換(TKA)手術采用機械對準方法,它所產生的典型誤差為3°或更大。使用光學對準的計算機輔助方法已經開始取代一些機械程序,但可能由于設備開銷較大,推廣過程緩慢。無論使用機械對準還是光學對準,這些手術中大約30%都會有未對準的情況(定義為3°以上的誤差),使病人感覺不舒服,常常需要進行額外的手術。降低對準誤差的可能好處包括:縮短手術時間、增強病人舒適感以及使關節置換效果更持久。[page]

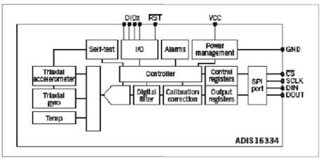
圖2 基于MEMS的慣性測量單元提供6自由度運動測量, 結構緊湊,適合用于手術儀器
完整多軸慣性測量單元(IMU)形式的慣性傳感器已證明能夠顯著提高TKA手術的精度。ADIS16334(圖2)等器件包含所需的全部檢測功能--三個線性傳感器和三個旋轉傳感器,可取代基于機械和光學的對準技術。該器件利用多種類型的傳感器和嵌入式處理來動態校正傳感器漂移,如陀螺儀的線性加速度偏移、線性和旋轉檢測的溫度漂移等。通過標準4線串行外設接口(SPI),可以與這個相對復雜的精密傳感器套件輕松接口。
MEMS慣性傳感器可靠度高(汽車行業20年的應用歷史證明了這一點),它在手機和視頻游戲中的成功應用說明它在商業上極具吸引力。然而,不同應用對性能的要求大不相同,適合游戲的器件并不能解決本文所述的高性能導航問題。對于導航,重要的MEMS性能指標是偏置漂移、振動影響、靈敏度和噪聲。精密工業和醫療導航所需的性能水平通常比消費電子設備所用MEMS傳感器的性能水平高出一個數量級。表3列出了有助于傳感器選型的一般系統考慮。

表3 系統目標/約束條件有助于傳感器選型
大多數系統都會集成某種形式的卡爾曼濾波器,以便有效合并多種類型的傳感器。卡爾曼濾波器將系統動力學模型、傳感器相對精度和其他特定應用的控制輸入納入考慮,有效確定最切合實際的運動情況。高精度慣性傳感器(低噪聲、低漂移、相對溫度/時間/振動/電源變化保持穩定)可以降低卡爾曼濾波器的復雜度,減少所需冗余傳感器的數量,以及減少對容許系統工作方案的限制條件數量。
3 醫療MEMS的復雜性
雖然傳感器已實現各種各樣的醫療應用,從相對簡單的運動捕捉到復雜的運動分析,但醫用傳感器的高性能要求提出了復雜且涉及到大量計算的設計挑戰。幸運的是,解決這些新一代醫療挑戰所需的許多原理均基于經工業導航應用驗證的方法,包括傳感器融合和處理技術。在醫療導航領域,運動的復雜性以及精度和可靠性要求將推動多處理器、附加傳感器后處理、復雜算法、復雜測試和補償方案的發展。
在消費應用強烈追求小尺寸、低功耗、多軸慣性傳感器的同時,某些開發人員同樣重視能夠在各種環境條件下穩定可靠的高精度、低功耗、高性能傳感器。與現有測量和檢測技術相比,這些慣性MEMS器件在精度、尺寸、功耗、冗余度和可及性上均有優勢。




