中心論題:
- SAW濾波器匹配的目的
- 實際SAW濾波器匹配時需要注意的問題
解決方案:
- 評估板和系統板上的匹配元件值有些差異,其原因是分布參數不同,需要微調元件值
- 高損耗濾波器通常要求失配,以得到好的通帶特性
- 低損耗濾波器通常要求最佳匹配,以得到小的損耗和駐波系數(SWR)
- 抑制好輸入輸出之間的直通信號是SAW 濾波器的裝配的主要問題
如何在電路板上安裝和匹配 SAW 濾波器,發揮SAW 濾波器的最佳性能,這對于應用SAW 濾波器的人員很重要,為此我們介紹SAW 濾波器的使用和匹配。
一般的 SAW 濾波器在接入電路中都要求前后級加匹配,這些匹配結構和元件值由濾波器制造廠家提供,系統人員在設計PCB 時就要考慮匹配。我們要避免將匹配元件安裝在SAW 濾波器的內部,這不象LC 濾波器容易將匹配和濾波器作為一個整體考慮。如果將匹配元件安裝在SAW 濾波器的內部,器件的可靠性將是一個很大的問題。
SAW 濾波器匹配的目的
a.取得小的駐波系數。特別是高損耗SAW 濾波器,其駐波系數一般在5~10,匹配后可以改善到2~5。對于低損耗SAW 濾波器通過匹配可以使駐波系數達到1.2~2。
b.取得小的損耗。對于損耗在30~40dB 的高損耗SAW 濾波器通過匹配可以得到20~25dB的損耗。而對于SPUDT 的濾波器,要求必須匹配才能得到小的損耗。
c.取得平坦的通帶特性。對于大帶寬SAW 濾波器、TCRF 濾波器、SPUDT 濾波器等如果不匹配,通帶波紋很大,匹配后不但損耗降低,而且可以得到平坦的通帶特性。
d.LC 匹配網絡設計得當,可以起到LC 濾波器的作用,提高遠端帶外抑制。
SAW 濾波器的匹配不同于其他濾波器的匹配,針對不同結構的SAW 濾波器其匹配目標不同。對于高損耗SAW 濾波器并不需要與外部電路完全的共軛理想匹配,因為在較大的聲輻射條件下,改進理想匹配雖然可以實現低損耗,但卻是以增加幅度和相位波動為代價的。這些器件通常有意使器件在一定程度上失配。對于中等損耗的SPUDT 濾波器,其匹配也不完全是理想電匹配。對于1~4dB 的低損耗SAW 濾波器則要求盡量理想電匹配以取得最小損耗。為了使聲表面波器件應用簡單,濾波器的輸入輸出端一般采用二元件進行匹配。對不同的 SAW 濾波器S 參數,匹配網絡不同,需要根據Smith 圓圖,選取合適的匹配網絡結構。在Smith 圓圖中,經匹配從起點到目的位置點經過的曲線長度越短,匹配后頻響特性越好。
如圖1(c)中兩條曲線分別對應于圖1(a)、(b)的匹配電路網絡。

圖 1 二種簡單匹配電路方案(a)、(b) 及對應的Smith 圓圖路徑(c)
匹配結構確定后,如何找到匹配元件值?一般有兩種方法:一是試驗法。借助于矢量網絡分析儀的Smith圓圖和頻響圖實際匹配。二是借助于矢量網絡分析儀,提取SAW濾波器的S參數,計算濾波器的四端網絡導納Y參數,通過軟件匹配計算匹配元件值,最后指導試驗匹配。
實際 SAW 濾波器匹配時需要注意的問題
a.評估板和系統板上的匹配元件值有些差異,其原因是分布參數不同,需要微調元件值。
b.高損耗濾波器通常要求失配,以得到好的通帶特性。
c.低損耗濾波器通常要求最佳匹配,以得到小的損耗和駐波系數(SWR)。
d.損耗越小的濾波器對匹配元件值越敏感SAW 濾波器與LC 濾波器、介質濾波器、腔體濾波器相比,損耗大、信號延遲時間長,因此SAW 濾波器的裝配比其他濾波器更講究。例如:一個25dB 損耗SAW 濾波器,要求濾波器帶外抑制大于55dB,則對PC 板隔離度要求大于80dB。因此,抑制好輸入輸出之間的直通信號是SAW 濾波器的裝配的主要問題。SAW 濾波器的直通信號對濾波器性能的影響有兩方面:一是惡化帶外抑制;二是通帶波紋增大。
圖2是橫向SAW 濾波器的典型脈沖響應,圖3 是同一只SAW 濾波器不同安裝引起直通信號抑制不同,得到的濾波效果也完全不同。

圖 2 橫向SAW 濾波器的典型脈沖響應

圖 3 SAW 濾波器的的直通信號抑制好(a)和差(b)對頻響的影響
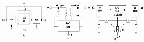
SAW 濾波器的直通來源大致有三方面:一是PC 板的布線帶來的輸入輸出之間的雜散電容C1、C2;二是輸入輸出的匹配之間的耦合;三是匹配地和濾波器的地并不是理想地,由地電阻引起耦合。如圖4 所示。

(a)雜散電容引起的耦合 (b)匹配元件之間的互耦 (c)地電流回路引起的耦合
圖4 引起直通的三種模型
針對直通信號的來源,比較好的SAW 濾波器的PC 板按圖5 設計,并注意如下幾點:采用雙面大面積接地的PC 板;PC 板作些垂直交叉金屬化孔,減小PC 板間的電容耦合;濾波器接地底座緊貼PC 板,以便接地良好,能的話,外殼邊緣與PC 板加焊幾個點;輸入輸出匹配元件垂直放置,特別是電感,以減小互耦;匹配網絡和濾波器各自的地電流回路盡量短,以減小地電流回路引起的耦合;輸入輸出的匹配元件盡量遠,以便降低匹配元件之間的直達信號;可能的話,在濾波器輸入輸出間的PC 板開隔離槽減小PC 板介質層引起的RF 泄漏;可能的話,在濾波器輸入輸出間、匹配網絡間加隔離腔。
圖 5 優化的SAW 器件PC 板




