中心論題:
- 超級電容填補了電池和普通電容之間的功率空隙。
- 目前音樂手機設計中的音頻質量和功率問題。
- 利用超級電容改進的音樂手機設計。
- 超級電容帶來顯著的音頻改善。
- 超級電容提供非常高的峰值電流提高功率。
- 升壓轉換器的線路穩壓電路和超級電容濾除波紋。
- 采用含0.55F、85mΩ的雙單元超級電容電路設計音樂手機。
- 每對揚聲器跨接每個音頻放大器使輸出阻抗減小一半。
本文將討論有關為帶音樂功能的手機提供大功率和高質量音頻的問題,并介紹超級電容(supercapacitor)如何能克服這些問題。這種超級電容還可以在不犧牲手機超薄外形的優勢條件下實現大功率LED閃光攝影功能。
在問題展開討論之前,先介紹一下超級電容及其在電源管理中扮演的角色。超級電容填補了電池和普通電容之間的功率空隙,它能提供比電池更高的觸發功率,并能比普通電容存儲更多的能量。超級電容可以為峰值功率事件(如GSM/GPRS射頻突發發送、GPS數據讀取、音樂播放、閃光照相和視頻播放)提供所需的觸發功率,然后接受電池的再充電。其好處包括延長通話時間、延長電池壽命、閃光更亮以及音樂質量更佳。設計師還可以藉此節省空間和成本,因為他們只需要考慮滿足平均功耗的電池和電源電路即可,不必關注峰值負載。
目前音樂手機設計中的音頻質量和功率問題
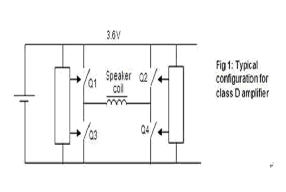
目前的移動電話通常使用D類音頻放大器。這些放大器在一個H橋電路中采用了兩對FET來控制揚聲器線圈。配置如圖1所示。Q1&Q4導通和Q2&Q3關斷時向一個方向驅動揚聲器線圈,Q1&Q4關斷和Q2&Q3導通
時向相反方向驅動線圈。該電路的電源一般是3.6V的電池。帶立體聲音頻的手機有一對放大器和揚聲器。對8Ω的揚聲器來說,最大音頻功率= 3.6V2/8Ω = 1.6W,或立體聲時為3.2W。在峰值立體聲音頻功率下的電池電流=3.2W/3.6V = 0.9A。因此這種情況下的音頻播放可能會受到功率限制、失真和干擾的影響。
問題1:電池無法同時滿足無線數據發送和音頻放大器產生的峰值功率要求,結果將導致失真。
當用戶用GSM/GPRS/EDGE手機欣賞音樂時,手機電池將無法同時提供峰值音頻電流和峰值射頻發射功率來響應網絡訪問。網絡會周期性地訪問手機以跟蹤手機位于哪個蜂窩,并確定手機應該使用的發射功率。這種網絡訪問期間,在手機響應時音頻放大器供電可能會下降,此時用戶會聽到一聲“喀噠聲”。不過,電池能夠輕松提供約100mA到200mA的平均音頻電流。
問題2:當峰值電池電流超過1A時會產生音頻噪聲/嗡嗡聲,這將在音頻放大器電源電壓上產生明顯的紋波。
如果電池組+連接器+PCB走線的總阻抗等于150mΩ,那么1A的峰值電流將在電源電壓上產生150mV的紋波,1.8A的峰值電流產生270mV的紋波。電源電壓中的這種紋波將給聽者帶來音頻噪聲。GSM/GPRS/EDGE發射時的峰值電流高達1.8A,因此也會產生音頻噪聲,在通話時用戶會聽到217Hz的嗡嗡聲。
問題3:CDMA、GSM&3G手機中有限的音頻功率和最差的低音響應。
不管是什么型號的手機,其音頻能力和質量都取決于音頻放大器的輸出功率和揚聲器的阻抗。在典型的手機配置中,兩個D類放大器均在電池提供的3.6V電源下驅動一對8Ω的揚聲器。如上所述,此時的最大音頻功率為3.2W,峰值電池電流為0.9A。結果不管是通過手機的內部揚聲器還是通過外部連接的揚聲器/耳機提供的都將是淺薄、低功率的音頻性能,低音響應性能非常有限。
圖1:D類放大器的典型配置。
[page]
利用超級電容改進音樂手機設計
圖2給出了另一種采用超級電容的電路方案,它可以解決上述所有問題,并提供四倍的峰值音頻功率。CAP-XX HS206就是一種0.55F、85mΩ的雙單元超級電容,它用于提供峰值功率,電池則提供平均功率。升壓轉換器將超級電容充電至5V。結果表現為:
立體聲手機的峰值功率提高至2 x 5V2/8Ω = 6.25W,接近上述功率的兩倍。另外,因為超級電容能夠提供非常高的峰值電流,設計師可以使用4Ω的揚聲器將峰值音頻功率提高到12.5W,或4倍于最初的功率。
0.55F, 85mΩ的超級電容在提供持續10msec時間的12.5W峰值功率且峰值電池功率為1.8W(0.5A@3.6V)時,只產生200mV的紋波。
目前只能提供150mA到300mA的平均音頻電流給超級電容充電的電池,也能在響應網絡訪問時提供峰值射頻功率,同時不犧牲音頻功率,故而在響應網絡訪問時用戶不會聽到“喀噠聲”。
此外,由于射頻發射而在電池電壓上產生的紋波也不會反映到音頻放大器上。這些紋波已被升壓轉換器的線路穩壓電路和超級電容濾除了,從而徹底消除了217Hz的嗡嗡聲。

圖2:帶有超級電容的D類放大器架構。
測試結果
為了測試超級電容帶來的音頻改善,我們建立測試裝置。在該測試裝置中我們建立了如圖1和圖2所示的電路,其中采用一對TPA2023D1來提供立體聲音頻通道:
在沒有超級電容的情況下(圖1),我們將音頻放大器連接到3.7V的鋰離子電池上,并驅動一對8Ω揚聲器。
在有超級電容的情況下(圖2),我們將電池連接到降壓-升壓轉換器的輸入端,并且將輸入電流限制為250mA,輸出設置為5V。然后將0.55F、85mΩ ESR的超級電容跨接在降壓-升壓轉換器的輸出端,并連接到圖2所示音頻放大器的電源輸入端。同樣驅動兩對8Ω揚聲器,每對揚聲器跨接每個音頻放大器,這樣可以使輸出阻抗減小一半,從而使揚聲器總功率再加倍。在這樣的裝置下,我們對以下方面進行了測試:表現為低音節拍的大功率低音爆發;在聽音樂時的進行網絡訪問,我們把它描述為1KHz的單音,目的是使超級電容帶來的改善效果更加明顯。



