【導讀】兩線制智能儀表以其應用簡單,成本低廉的特點應用于壓力、溫度等過程參數檢測的一次儀表中。然而兩線制回路需要同時傳輸能量和高精度信號,這就使得信號的隔離變得非常困難。本文以兩線制回路的基本工作方式為基礎分析了現有無源電流信號隔離器在兩線制信號隔離電路中的不足,進而介紹了傳輸精度更高的信號隔離方案及其配電擴展方案。最后針對智能儀表的通信要求介紹了TS107HL-F-2在兩線制回路中的Hart信號隔離傳輸方案。
1、兩線制信號傳輸的基本方式

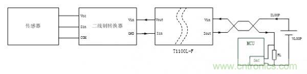
圖1:兩線制典型應用框圖
兩線制信號傳輸方式的典型電路如圖1所示。在信號檢測端主要包括傳感器和二線制轉換器兩部分組成。在信號接收端包括兩線制回路供電電源VL和電流檢測電路組成。一般電流檢測電路由精密電阻RL將電流信號轉換成電壓信號再通過AD轉換傳送到控制系統中。
兩線制轉換器的功能是將兩線制回路的電壓Vin轉換成傳感器的供電電壓Vcc,同時根據傳感器的輸入信號Sin控制兩線制回路Vin的負載電流Is。這里Is就是兩線制電路傳輸的4~20mA電流信號。
在兩線制回路中,只有唯一的電壓源VL,負載分別為Vin和VRL。由于電流檢測電阻流過電流信號Is,因此在電阻不變的情況下電壓VRL由Is決定。根據基爾霍夫電壓定律,兩線制接口的電壓Vin應當是隨著VRL的變化而變化的,并且滿足以下等式(1):
Vin=VL-VRL(不考慮線路阻抗的壓降) (1)
Vin=VL-VRL(不考慮線路阻抗的壓降) (1)
由于Is由電路信號決定,因此Vin決定了二線制轉換器的輸入能量,進而也決定了二線制轉換器Vcc的最大輸出能量。
2、兩線制應用的常規隔離方案
在一次儀表現場過程信號檢測的應用中,信號檢測端和信號收集端需要通過較長的信號傳輸線傳輸信號。由于一次儀表多為金屬外殼,使用時需要接地處理,因此信號傳輸線也會通過兩線制接口和大地相連。這時的信號傳輸線就像是一根接地天線,可以有效地接收各種電磁波信號。同時各種累積到傳輸線的電荷均會通過兩線制接口導入大地,這會對兩線制電路的信號傳輸帶來極大的干擾。
為了抑制信號傳輸線接地對信號的干擾,實際應用中一般需要將信號傳輸線連入傳感器之前先進行隔離處理。常規的解決方案如圖2所示,在兩線制回路和二線制轉換器中間加一個無源的電流信號隔離器即可實現信號的隔離傳輸。圖中使用的無源電流信號隔離器是金升陽的T1100L-F。

圖2:現有兩線制回路隔離方案
T1100L-F可以在不需要外界供電的情況下將4~20mA的電流信號等比隔離傳輸。能量的輸入端電壓最高達到30V時,輸出端可以實現最高25V電壓以及信號電流的輸出,有效的實現了信號和能量的隔離傳輸。該方案使用簡單,適用于各種需要4~20mA電流信號隔離的場合,但是依然存在不足,主要包括以下兩點:
1)信號傳輸精度低
由于同時隔離傳輸電流和能量,無源信號隔離器的信號傳輸精度一般在0.3%以下。
2)存在回路壓降
無源電流信號隔離器的電流等比傳輸,自身電路工作的能量來自于電流信號的輸入輸出電壓差,即兩線制回路壓降。T1100L-F的電壓差最大為5V,這時上述等式(1)就增加了一個隔離器的電壓降,如下述等式(2):
Vin=VL-VRL-5V(不考慮線路阻抗的壓降) (2)
Vin=VL-VRL-5V(不考慮線路阻抗的壓降) (2)
由于Vin決定了二線制轉換器的輸出能量,因此Vin的降低意味著二線制轉換器的配電功率降低。一般集成了兩線制轉換器的兩線制傳感器會有最小輸入電壓要求,Vin的降低也容易導致兩線制傳感器供電電壓不足。
3、基于TS107L-F-2的兩線制信號隔離方案

圖3:TS107L-F-2兩線制信號隔離方案
為了進一步提高兩線制信號隔離傳輸電路的信號傳輸精度,同時簡化兩線制接口電路,可以采用集成二線制轉換器和信號隔離電路的TS107L-F-2。TS107L-F-2是金升陽專為兩線制信號傳輸電路設計的兩線制隔離轉換器,主要的性能參數如下表:

和采用無源電流信號隔離器的兩線制隔離方案相比,TS107L-F-2的信號傳輸精度高,回路壓降低,同時26*9.5*12.5mm的小體積為兩線制傳感器的設計留出了更加廣闊的空間。
由于兩線制回路供電的能量有限,在傳感器檢測電路的設計中應當盡量選擇功耗低的元器件。如果采用低功耗的元器件時TS107L-F-2依然不能滿足供電要求,可以采用增加HK電源模塊的方式提高兩線制回路的供電能力。具體的連接方案入圖4所示。

圖4:HK電源擴展方案
由于TS107L-F-2的最低輸入電壓只有10V,遠低于一般兩線制回路能夠提供的電壓,因此在兩線制回路中還可以串聯一個乃至多個HK電源。HK5S03B的輸入電壓為5V,這時兩個模塊的回路壓降為15V,電源輸出端則有了兩個電源端Vcc1和Vcc2。通過用Vcc1和Vcc2給傳感器的不同電路供電,就可以有效的解決兩線制回路配電電源功率不足的問題。根據配電功率和電壓要求的不同,可以選擇以下不同的HK電源給兩線制傳感器提供額外的電源。

以上輸出電流能力是輸入端電流為4mA時的值,如果輸入電流減小,輸出電流能力也會相應降低,因此使用時應當注意兩線制回路電流小于4mA時對配電輸出電流的影響。
4、兩線制應用的Hart通信隔離方案

圖5:帶Hart通信功能的兩線制應用方案
在智能儀表中,除了要傳輸4~20mA的模擬量信號,還要求具備Hart通信功能。這時可以采用TS107L-F-2的Hart版TS107HL-F-2。和TS107L-F-2的主要區別在于,TS107HL-F-2多了一路Hart信號隔離傳輸接口,如圖5所示。由于TS107HL-F-2本身具備電壓信號轉4~20mA電流信號的功能,類似于ADI的AD5421,因此只要采用AD5700在電壓信號輸入端耦合進Hart信號就可以實現Hart信號的發送。Hart信號的返回則通過TS107HL-F-2的自帶Hart信號隔離接口實現信號的回傳。
另外,為了有效的實現Hart信號的隔離傳輸,TS107HL-F-2的模擬輸入信號變成了0.4V~2V。
相關閱讀:
智能兩線制變送器的微功率電源設計
ADM3054:ADI推出業界首款信號隔離CAN收發器



