【導讀】在各種應用中,系統效率和功率密度不斷提高,這導致了更高的直流系統電壓。然而,傳統的電路保護解決方案不足以在保持高可靠性和安全性的同時有效保護這些高壓配電系統。
在各種應用中,系統效率和功率密度不斷提高,這導致了更高的直流系統電壓。然而,傳統的電路保護解決方案不足以在保持高可靠性和安全性的同時有效保護這些高壓配電系統。
固態斷路器 (SSCB) 和電熔斷器具有眾多優點,尤其是低允許通過電流和能量,因此現在正在集成到設計中。本文基于近在 PCIM 2024 博覽會和會議上的演講,探討了 SSCB 作為傳統解決方案的卓越替代方案的優勢。
此外,基于碳化硅的固態解決方案與直流熔斷器的比較表明,允許通過電流和能量顯著降低,電弧和電弧閃光的危險也減少了。
固態解決方案的優勢
高壓配電系統通常從電網、儲能系統 (ESS) 或可再生能源等來源接收電力。這些系統通常包括電力電子轉換器,可有效地將輸入功率轉換為穩定的直流總線電壓,用于下游負載。這些系統中的布線范圍從幾米到幾公里不等,引入了寄生線和總線電感,這會影響電路保護器件的性能。
固態解決方案提供快速響應時間,優于傳統的接觸器和繼電器,傳統接觸器和繼電器在負載斷開期間由于系統感應引起的電弧而存在可靠性問題。電弧會使接觸器組件退化,從而顯著縮短其使用壽命。
圖 1 顯示了在負載下斷開 400 V 直流系統相關的電弧時間。固態解決方案可以在微秒內中斷高短路電流,比傳統解決方案中產生小電弧所需的短時間(圖 1 所示情況下為 4 ms)快得多。
圖 1:400 V 直流斷開后的電弧形成
在高壓應用中,安全至關重要。例如,在使用高壓鋰電池(如 ESS 和 EV)的系統中,放電和電弧會帶來重大的安全風險。這些會觸發熱失控事件,這些事件是危險的,而且可能是災難性的。快速響應電路中斷裝置可以將短路電流限制在幾百安培,大大降低維持電弧閃光事件所需的高電弧電流,從而提高系統安全性。
測試設置
為了評估短路性能,已經建立了一個合適的電路(有關詳細信息,請參閱參考資料)。它由高壓直流電源、線路阻抗網絡、總線阻抗網絡、被測設備 (DUT) 和機電繼電器組成。這些組件模擬直流電源和下游配電系統之間的阻抗。高壓差分電壓探頭和羅氏線圈分別測量線路電壓、總線電壓和短路電流。測試電路中存儲的能量計算為 113.4 J。

DUT 可在傳統保險絲和 SSCB 原型(Microchip 的輔助 E-Fuse 演示板,簡稱 E-Fuse)之間互換。
一旦電容器 C線和 C總線,在測試開始時已充電至 450 V,將直流電源從測試電路上拔下。當 DUT 配備典型保險絲時,繼電器觸點閉合以提供短路連接。當 DUT 是 E-Fuse 板時,繼電器被旁路,因為它被激活以使用通過本地互連網絡 (LIN) 傳輸的串行命令造成短路。
該研究在模擬高壓直流系統中比較了這兩種類型的設備。該實驗測量了模擬故障期間的清除時間、峰值電流、電壓暫降和允許通過能量等因素。
熔斷器測試和模擬
使用帶有傳統 20 A 快速熔斷保險絲的測試裝置,短路測試結果(圖 2)顯示清除時間為 276 μs,總線峰值電流為 3,590 A。電容完全放電,導致線路和總線電壓節點上出現負電壓(總線電壓降至 –110 V),這是由于測試前電源斷開造成的偽影。峰值功率達到 963 kW,能量為 85.4 J。
對傳統 20 A 快速熔斷器進行的短路測試結果。
圖 2:對傳統 20 A 快速熔斷器進行的短路測試結果
使用 MPLAB Mindi 模擬仿真器開發的基于 SPICE 的模型對測試電路進行了仿真。該模型與物理系統緊密結合,可以評估線路電感對總線電壓驟降持續時間和量的影響。仿真結果表明,隨著線路電感的增加,總線電壓下降更明顯,從而影響系統穩定性。
E-Fuse 測試和仿真
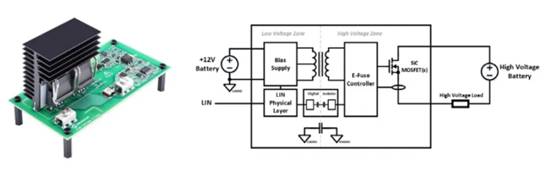
Microchip 輔助 E-Fuse 演示板(400 V、30 A 型號)在 0.8 μH 和 5 μH 的總線電感下進行了測試。該板如圖 3 所示,具有兩個并聯的 15 mΩ 700 V SiC MOSFET。
圖 3:Microchip 的 E-Fuse 板和原理圖
需要注意的是,E-Fuse 板與專為性使用而設計的傳統保險絲不同,可以在檢測到過電流后復位。這提供了幾個優勢,例如能夠在多個工作條件下分析和描述單個設備。
該板包括一個工作電壓為 12 V 的低壓區,該低壓區是電氣隔離的,并將偏置電源傳輸到高壓區中的監視器、控制和驅動電路。跳閘曲線可以使用 LIN 進行調整,它由一個基于硬件的短路監視器組成,該監視器可配置為 33 A 的電流閾值分辨率。
測試結果顯示清除時間分別為 672 μs 和 6.3 μs,峰值總線電流為 216 A 和 287 A。總線電壓驟降,表明 E-Fuse 的有效電流中斷。
具有不同過流閾值的進一步測試表明,峰值允許電流范圍為 45 A 至 287 A,大多數測量的總線電壓驟降低于 1 V,峰值功率為 20 kW 至 129 kW,允許通過能量為 28 mJ 至 406 mJ。
與傳統保險絲相比,E-Fuse 表現出卓越的性能,峰值電流和能量顯著降低,提高了安全性和可靠性。
調查表明,SSCB 是一種比傳統保險絲更有效的解決方案。與保險絲和接觸器不同,SSCB 利用半導體以電子方式中斷電流。這消除了電弧并提供更快的響應時間,從而限制了故障事件期間流動的電流量。
免責聲明:本文為轉載文章,轉載此文目的在于傳遞更多信息,版權歸原作者所有。本文所用視頻、圖片、文字如涉及作品版權問題,請聯系小編進行處理。
推薦閱讀:




