【導讀】車輛跟蹤系統非常適合監視一輛汽車或整個車隊。跟蹤系統由自動跟蹤硬件和用于收集數據(如果需要的話,還有數據傳輸)的軟件組成。今天,我們就來剖析下“車輛跟蹤系統”。
主動跟蹤器與被動跟蹤器
主動跟蹤器和被動跟蹤器收集數據的方式相同,也同樣準確。這兩種類型跟蹤器的主要區別在于時間。
1.主動跟蹤器也稱為“實時”跟蹤器,因為它們通過衛星或蜂窩網絡發送數據,即時指示車輛位置。電腦屏幕可以實時顯示車輛的移動。因此,如果企業希望提高運送效率并了解員工現場駕駛情況,那么主動跟蹤是最佳選擇。主動式跟蹤器還具備一種“地理圍欄”能力(把這種功能想象為類似“力場”),其可在汽車進入或離開某個預定位置時提供警示信號。另外,此類系統還能幫助防止車輛失竊或追回被盜車輛。當然,主動GPS跟蹤設備比被動跟蹤設備貴,而且需要按月支付服務費。
2.被動跟蹤器價格較低,但數據存儲量受限,不過它們更小,更易于隱藏。被動跟蹤器在設備上存儲信息,而不是向一個遠程地點發送數據。這種跟蹤器必須從車輛上拿下來,連到電腦上,才能查看其中存儲的信息。這類系統適合出于工作目的跟蹤里程的人,也適合希望減少車輛濫用的企業。另外,被動跟蹤器也常常用來監察人員的行動(可以想象成偵探工作)。如果不需要即刻反饋,而是定期檢查設備數據,那么被動跟蹤器是個很好的選擇。
無論哪一種類型的跟蹤器,本質上都是便攜式的,外形尺寸相對較小。因此需要電池電源,也需要備份功能以在萬一斷電時保存數據。由于給電池(通常是單節鋰離子電池)充電需要較高的汽車系統電壓和較大的電流,所以開關模式充電器是可取的,因為與線性電池充電IC相比,開關模式充電器充電效率較高,以功耗形式產生的熱量較少。大體上,嵌入式汽車應用的輸入電壓可能高達30 V,有些甚至更高。在這些GPS跟蹤定位系統中,一個充電器和常見的12 V至單節鋰離子電池(典型值為3.7V)、針對高得多的輸入電壓(在發生源于電池漂移之電壓瞬變的場合)的附加保護以及某種類型的備份能力將是理想的配置。
電池充電 IC 的設計問題
1.傳統的線性拓撲電池充電器往往因其緊湊的占板面積、簡單性和適中的成本而受到重視。不過,傳統線性充電器有一些缺點,包括輸入和電池電壓范圍受限、電流消耗相對較大、功耗過大(產生熱量)、充電終止算法受限以及效率相對較低。
2.開關模式電池充電器是很受歡迎的選擇,因為這類充電器具備拓撲靈活性,可對多種化學組成的電池充電,充電效率高,因此最大限度減少了熱量,可實現快速充電,另外還有很寬的工作電壓范圍。
當然,權衡總是存在的。開關充電器的缺點包括:成本相對較高、基于電感器的設計更加復雜、可能產生噪聲以及解決方案占板面積較大。由于以上提及的開關充電器的優點,現代鉛酸電池、無線電源、能量收集、太陽能充電、遠程傳感器和嵌入式汽車應用大多用開關模式充電器供電。
傳統上,跟蹤器中面向電池的備份電源管理系統由多個IC組成,包括一個高壓降壓型穩壓器和一個電池充電器,還有所有分立式組件,這絕不是一種緊湊的解決方案。因此,早期跟蹤系統的外形尺寸不是很緊湊。典型的跟蹤系統應用使用汽車電池和單節鋰離子電池支持存儲和備份。
為什么跟蹤系統需要集成度更高的電源管理解決方案呢?
1.必需減小跟蹤器自身的尺寸,在這個市場里,尺寸是越小越好;
2.要求對電池進行安全的充電和為IC提供針對電壓瞬變的保護、需要擁有系統備份能力以應對系統電源消失或發生故障的情況、以及為通用分組無線業務(GPRS)芯片組相對較低的電源軌電壓(~4.45 V)供電。
電源備份管理器
一個滿足前述要求、集成了電源備份管理器和充電器的解決方案需要具備以下特點:
1.同步降壓型拓撲以實現高效率;
2.很寬的輸入電壓范圍,以適合各種輸入電源,還要針對高壓瞬態提供保護;
3.適當的電池充電電壓以支持GPRS芯片組;
4.通過內置充電終止(無需微處理器)簡便和自主地運行;
5.PowerPath™控制——發生電源故障時,在輸入電源和備份電源之間實現無縫切換,如果發生輸入短路,這項6.控制功能還需要提供反向隔離;
7.提供備份電池,當輸入消失或出故障時為系統負載供電;
8.由于空間限制,需要提供占板面積很小的扁平解決方案;
9.先進的封裝以改善熱性能和空間利用率。
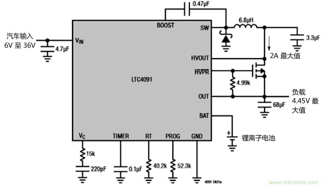
為了滿足這些特定需求,ADI 推出了LTC4091,這是一款完整的鋰離子電池備份管理系統,適合在主電源長時間故障時必須保持運行的3.45 V至4.45 V電源軌。

LTC4091采用一個36 V單片降壓型轉換器,具自適應輸出控制,以從降壓型轉換器輸出給系統負載供電,并支持高效率電池充電。當外部電源可用時,該器件可提供高達2.5 A的總輸出電流,并可為單節4.1 V或4.2 V鋰離子電池提供高達1.5 A的充電電流。如果主輸入源出故障,不能再給負載供電,LTC4091就通過一個內部理想二極管,從備份鋰離子電池向系統輸出負載提供高達4 A的電流,如果使用一個外部理想二極管晶體管,就可提供相對不受限制的電流。為了保護敏感的下游負載,最大輸出負載電壓限制為4.45 V。在電源出故障時,該器件的PowerPath™控制在輸入電源和備份電源之間提供無縫切換,通過短路輸入支持反向隔離。LTC4091的典型應用包括車隊和財產跟蹤、汽車GPS數據記錄儀和遠程信息處理系統、安防系統、以及通信和工業備份系統。
LTC4091提供60V絕對最大輸入過壓保護,因此該IC可以抵御很高的輸入電壓瞬態。LTC4091的電池充電器提供兩個為鋰離子電池備份應用而優化的、引腳可選的充電電壓:標準4.2 V電壓,以及可權衡電池運行時間和充電/放電周期壽命的4.1 V可選電壓。其他特點包括在啟動和過載時控制輸出電流的軟啟動和頻率折返以及涓流充電、自動充電、低電池電量預充電、充電定時器終止、熱量調節和一個用于溫度合格充電的熱敏電阻器引腳。
LTC4091 采用扁平 (0.75 mm)22 引腳 3 mm x 6 mm DFN 封裝,提供背面金屬焊盤以實現卓越的熱性能。該器件在 –40℃至 125℃的溫度范圍內運行。圖 1 顯示了該器件的典型應用原理圖。

圖1 LTC4091 的典型應用原理圖
熱量調節保護
為了防止熱量過高損壞該IC或周圍組件,如果芯片溫度上升至約105 ℃,內部熱量反饋環路就自動降低設定的充電電流。熱量調節防止由于大功率運行或環境溫度太高導致LTC4091過熱,使用戶能夠突破給定電路板設計的功率處理能力之極限,而不會面臨損壞LTC4091或外部組件的風險。熱量調節環路的好處是,充電電流可以按照實際條件而不是最差條件設定,同時確保電池充電器會在最差條件下自動降低電流。
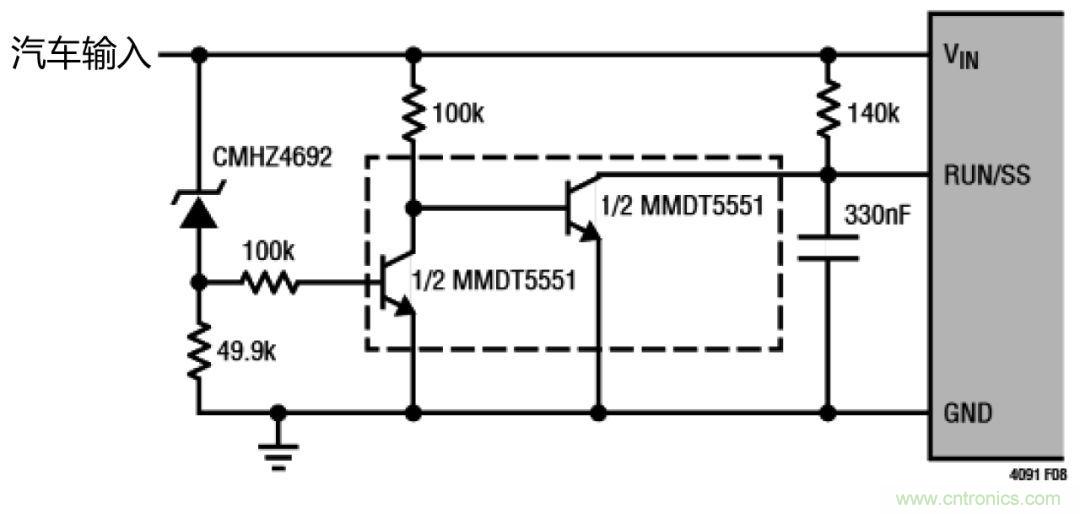
穿越汽車冷車發動情況
汽車應用會經歷電源電壓的大幅下降,例如在冷車發動情況下,電源電壓大幅下降可能導致高壓開關穩壓器失去調節能力,導致過大的VC電壓,并因此在VIN恢復時導致過大的輸出過沖。為了防止從冷車發動情況恢復時出現過沖,有必要通過RUN/SS引腳使LTC4091的軟啟動電路復位。
圖2是一款簡單電路的實例,該電路可自動檢測欠壓狀況并使RUN/SS引腳復位,重新接入軟啟動功能電路以及防止發生具有破壞性的輸出過沖。

圖2 冷車發動穿越電路
結論
汽車和車隊跟蹤系統的采用率正在上升。現代跟蹤器的外形尺寸在減小,功能在增加,包括主動數據傳輸功能,以支持實時跟蹤。此外,還需要備份功能以及用來給系統中GPRS 芯片組供電的較低電壓。ADI 的 Power by Linear™ 產品 LTC4091是一款高壓、大電流降壓型電池充電器和 PowerPath 備份管理器,提供熱量調節和廣泛的保護,為車輛跟蹤應用提供了一款緊湊、強大和靈活的單芯片解決方案,使設計師的任務更簡單、更容易了。
推薦閱讀:




